在数字化与智能化快速发展的今天,传统电力管理方式已难以满足现代用电安全、节能降耗和高效运维的需求。智慧用电空开(智能空气开关)应运而生,它融合物联网(IoT)、人工智能(AI)和电气保护技术,不仅提供基础的电路保护,还能实现远程监控、能耗分析和智能预警,有效预防电气火灾、优化能源使用,成为智能家居、智慧楼宇和工业4.0的重要组成部分。

数据监控:电压、电流、功率、电能、温度和漏电(仅2P/4P带漏保支持)等数据
计量精度:具有电量计量功能,使用计量芯片方案,电压电流精度0.2级,功率0.5级,电能0.5级。(需提供CNAS或SCM检测报告)
控制技术:内置机械控电装置和数字化控制芯片,可实现在数字芯片故障状态下,各智慧断路器依旧可以保留短路保护、漏电保护、过流保护等用电保护功能
保护功能:过压、欠压、过载、短路、过流、超温和漏电(仅2P/4P带漏保支持)等多种保护功能
过流保护:100%额定电流预警,110%额定电流跳闸,阈值可调
短路保护:C型曲线5-10倍额定电流路保护,D型曲线10-14倍额定电流断路保护
过载保护:100%额定功率预警,110%额定功率跳闸,阈值可调
过压保护:110%额定电压预警,120%额定电压跳闸,阈值可调
欠压保护:90%额定电压预警,80%额定电压跳闸,阈值可调
过温保护:80℃预警,100℃跳闸,阈值可调
漏电保护:15mA预警,30mA跳闸,阈值可调(仅2P/4P带漏保支持)
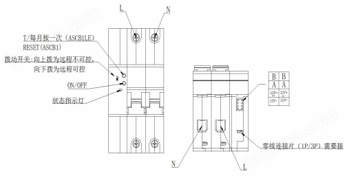
控制功能:具有本地手动推杆、本地电动控制、本地锁定、远程遥控、定时控制等多种控制功能;



安科瑞电气股份有限公司成立于2003年,是一家集研发、生产、销售及服务于一体的高科技股份制企业,专注于为企业提供能效管理和用电安全的解决方案。公司总部位于上海嘉定,在江阴设有全资子公司及生产基地,是智能电力仪表行业的企业。
作为国家火炬计划重点高新技术企业和软件企业,安科瑞具备从云平台软件到终端元器件的一站式服务能力,形成了“云-边-端"的能源互联网生态体系。,聚焦用户侧能效系统和能源互联网,多套系统解决方案运行在全国多地。
安科瑞的产品和服务涵盖电力、环保、新能源、消防、数据中心、智能楼宇等多个领域,提供变电所运维、安全用电管理、环保用电监管、智慧消防、能源管理、工业企业能源管控等云平台,以及智能电力监控仪表、电量传感器、电气火灾监控装置等硬件产品,助力企业实现能源智能化、可视化、精细化管理,推动能源数字化建设。

智慧用电空开